欢迎光临~江苏美格地板有限公司
语言选择: 中文版 ∷  英文版

行业规范

CISCA-均布载荷测试标准(美标)

 点击下载

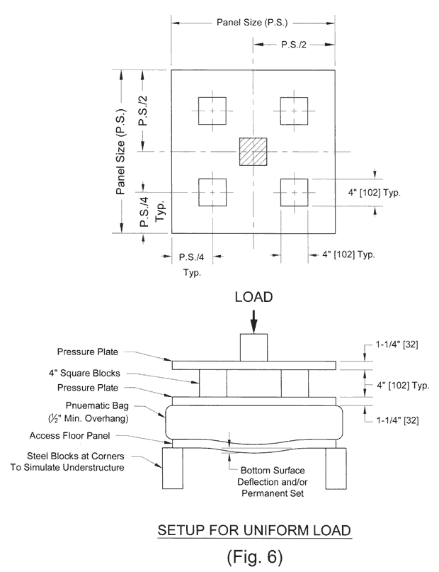
Purpose:

To determine the maximum deflection(s) and permanent set(s) of an access floor under a uniformly distributed load.

Preparation:

  1. Test shall be performed on a randomly selected bare panel assembly. Panel shall be placed on steel blocks or supports configured to provide support identical to that provided by an installed system. Any coatings, gaskets, pads, clips, fasteners, floor covering, or other materials as required by manufacturer shall be identical to an installed system. Blocks or supports shall not reduce the unsupported edge 
    span below that normally provided with a standard installed system.

  2. Panel designed for stringer support shall have stringers spanning the blocks or supports with panel perimeter support and/or interface in an identical manner to the configuration of the installed floor systems. Stringers shall be identical to those of the installed floor system, attached or fitted to the 
    support blocks in an identical manner to the installed floor system, and shall include any coatings, gaskets, pads, clips, fasteners, finishes or other materials as required by the manufacturer in the 
    installed floor system.

  3. Height of the test mock-up shall be sufficient to accommodate deflections of stringers and panels.

  4. Load shall be applied as described in the air bag or vacuum methods prescribed in ASTM E2322 Standard Test Method for Conducting Transverse and Concentrated Load Tests on Panels Used
    in Floor and Roof Construction. 
    Note: This ASTM test method is to be used in this section only for evaluation of uniform loading 
    resistance, and is not appropriate for use as a concentrated load test method for access floors.

  5. Any restraining frames or configurations utilized in the test procedure shall not interfere with vertical movement of the test specimen.

 

Test Procedures:

  1. Except as outlined in this procedure, the panel shall be loaded according to the air bag or vacuum methods prescribed in ASTM E2322. In the case of access flooring systems where panels are not contiguous, load shall also be applied to any connecting material (e.g. steel cap) between panels.

  2. The panel shall be pre-loaded to the test load. A pre-load of 50 lbs/ft² (i.e. 200 lb In the case of a panel
    that is 4 ft² - 2' x 2') shall then be applied and the instrumentation measuring deflection and load shall 
    be set at zero.

    (Reference zero = 50 lbs/ft² pre-load)

  3. After the pre-load, the panel shall be tested by increments not exceeding 50 lbs/ft², with initial load no more than one-half test load. Rate of load application shall not exceed 375 lbs/ft² per minute.

  4. Deflection and permanent set shall be measured at the panel's center, midspan of edge, and "weakest point" as defined by the manufacturer and verified by the independent test agency.

    Note: For products with uneven bottom surfaces and where the deflection and set are measured on the bottom of the panel, the measurements shall be taken at the lowest adjacent horizontal surface.

  5. Loads shall be applied for a minimum of one (1) minute and deflection readings taken at the end of the period. The load shall then be relaxed to reference zero (Reference zero = 50 lbs/ft² pre-load) for a minimum one (1) minute and deflection shall be recorded.

 

Report:

  1. Reference of testing procedure described herein by CISCA A/F section number shall be included in report.

  2. All apparatus, equipment, instrumentation, accuracy ranges, etc. shall be described including equipment calibration/certification dates.

  3. Materials tested and mock-up configuration(s) should be fully described in verbiage or referenced to manufacturers' drawings and/or part numbers, either containing the following information:

  4.          Panels:

                      . Material(s) of panel construction.

                      . Weight, nominal dimensions and thicknesses.

             Stringers:

                      . Material(s) of construction.

                      . Weight, nominal dimensions and thicknesses, including fasteners, gaskets, coatings,
                        clips, etc.

             Other:

                      . Fully describe gasketing, pads, other items utilized in the system.

  5. Panel deflection measurements of the bottom surface shall be reported to the nearest .001" (0.025 mm) for each applied load.

  6. Panel permanent set of the bottom surface shall be reported to the nearest .001" (0.025 mm) for each applied load.


栏目导航

联系我们

CONTACT US

联系人:陈先生

手机:+86-18861159966

电话:+86-18861159966

邮箱:info@maxgrid.com

地址: 江苏省常州市武进区遥观镇建农工业园